Installation Environment
When installing, confirm that the carry-in route and the installation site are broad enough and strong enough to move and install the product.
Carrying-in space
The carry-in route must have at least the following width / height.
important / 重要 |
|
Note / 補足 |
|
Items | Packed (Printer) | Unpacked (Printer) | |
|---|---|---|---|
External dimensions | Width | 665 mm | 465 mm |
Depth | 621 mm | 517 mm | |
Height | 682 mm |
| |
Installation space/weight
Note / 補足 |
|
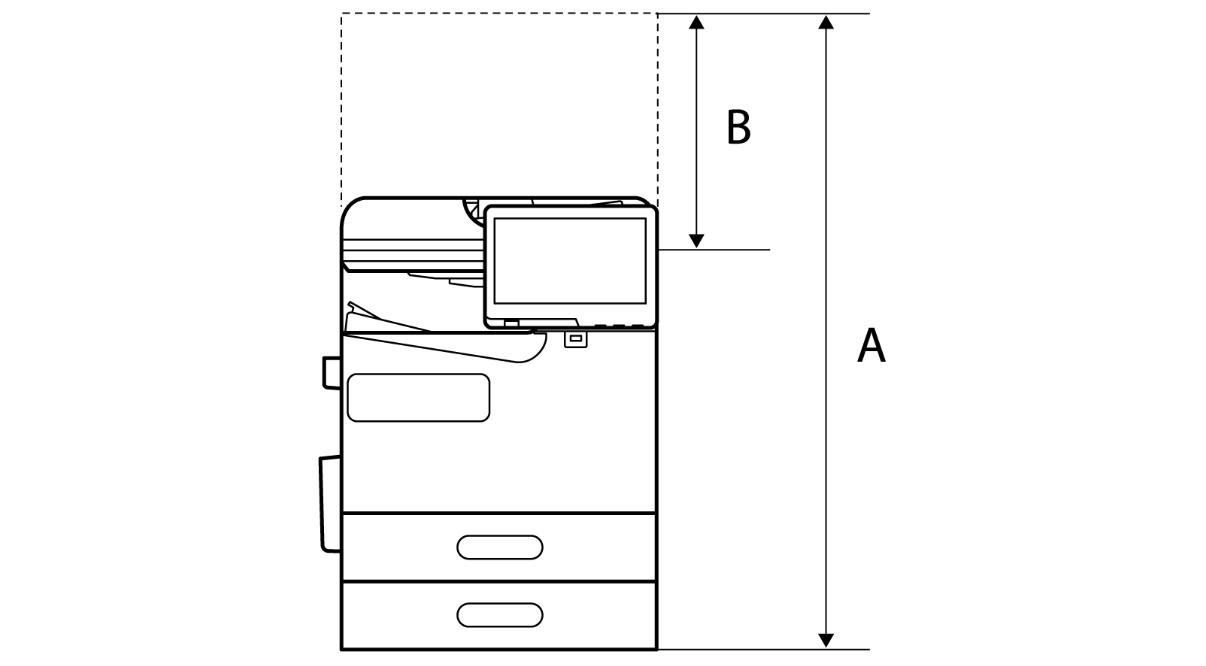
Main Unit

| A | 800 mm |
|---|---|
| B | 310 mm |
Printer main unit + 1st additional cassette

| A | 900 mm |
|---|---|
| B | 310 mm |
Printer main unit + 1st additional cassette + 2nd additional cassette

| A | 1168 mm |
|---|---|
| B | 310 mm |

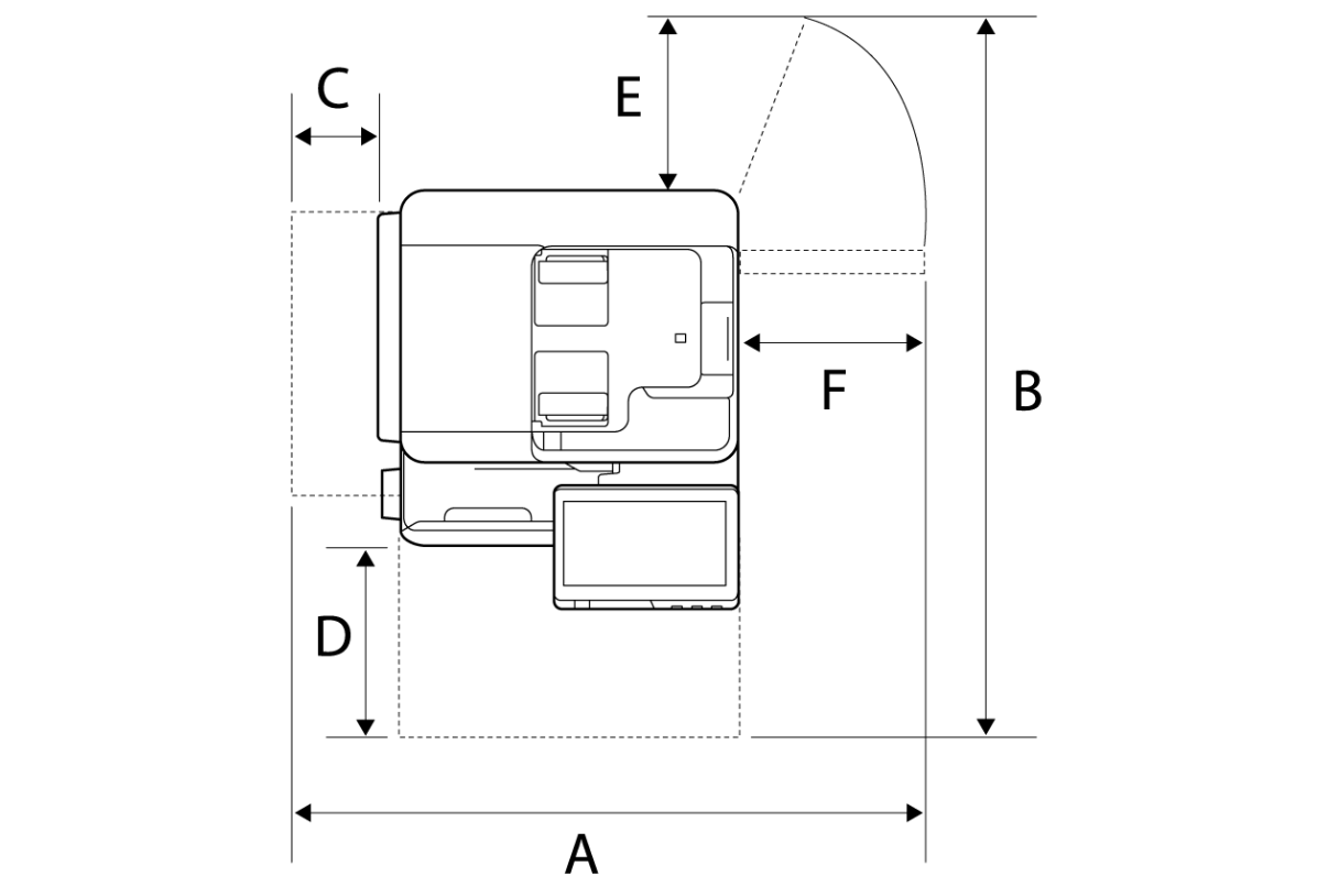
| A | 884 mm |
| B | 944 mm |
| C | 32 mm |
| D | 332 mm |
| E | 122 mm |
| F | 387 mm |
Installation environment
It may not be possible to maintain the operation quality of the product depending on ambient environmental conditions such as outside air. Therefore it is recommended that the product be used within the operating temperature and humidity ranges described below.
Location to avoid the installation
- Location subjected to direct sunlight such as near a window
- Location subjected to vibrations frequently
- Location subjected to a sudden change in temperature and/or humidity
- Location subjected to cold or hot air directly from an air conditioning or other device
- Closed environment with bad breathability, bad ventilation
- Places that are not horizontal
- On an unstable object, such as a table that cannot withstand the load.
Product
Items | Operation guarantee | Print quality guarantee | Feeding paper reliability guarantee |
|---|---|---|---|
temperature | 5 to 40 °C | 10 ~ 35 ℃ | 18 ~ 28 ℃ |
Humidity | 15 to 80 % (non-condensing) | 35 ~ 70 % | |
Items | Operation possible |
|---|---|
Installation posture | Less than +/- 3° |
important / 重要 |
|
Ink cartridge
Items | Operation guarantee | Package storage reliability | Reliability when installing the Main Unit | Reliability during packing transportation |
|---|---|---|---|---|
temperature | 5 ~ 40 ℃ | -30 ~ 40 ℃*1 | -20 ~ 40 ℃*1 | -30 ~ 60 ℃*1*2 |
Humidity | 15 ~ 80 % (non-condensing) | 5 ~ 85 % (non-condensing) | ||
*1: However, within 1 month when at 40°C
*2: However, within 120 hours when at 60°C
Power Supply
Rated voltage | AC 100-240 V | |
|---|---|---|
Rated current | 3.0 to 1.5 A | |
Rated frequency | 50/60 Hz | |
| Power consumption (when connected to wired LAN) | When copying (ISO/IEC24712 print pattern) | Approx. 84 W |
| When ready | Approx. 36 W | |
| When sleep mode | Approx. 0.8 W | |
| When turn off | Approx. 0.1 W | |
| Maximum Power Consumption | 160 W | |

